Доставка курьером от 1 дня - от 500 ₽
* Производитель в праве изменять характеристики, внешний вид, комплектацию и место производства без уведомления дилера
Программная опция DS70000-RFFEA активирует в осциллографах RIGOL серии DS70000 возможность декодирования и анализа сигналов последовательной шины передачи данных MIPI-RFFE.
Декодирование и анализ сигналов стандарта MIPI-RFFE доступно во всех аналоговых каналах CH-1 ~ CH4 (в один аналоговый канал подаются данные SCLK, в другой – SDATA).
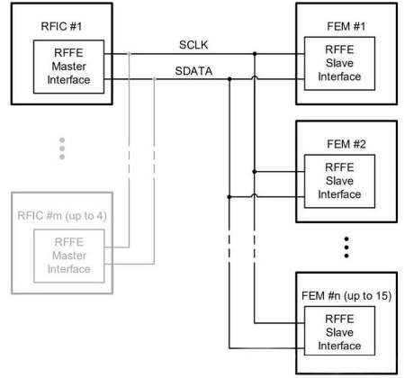
Шина протокола MIPI-RFFE состоит из одной линии питания (VIO), линии тактирования (SCLK) и передачи данных (SDATA), как показано на рисунке. Архитектура MIPI-RFFE включает в себя сигнальную шину, ведущее устройство RFFE (компонент системы управления сигнальной шиной MIPI), BOM (Bus Own Master) и RFFE Slave Device (управляемое устройство MIPI, как правило, радиочастотный фронтальный модуль)
Декодирование протокола является основой для проведения его анализа. Правильное декодирование сигналов протокола последовательной передачи данных позволяет выявить больше информации об ошибках.
Результаты анализа декодированного протокола MIPI-RFFE отображаются в таблице событий (MIPI-RFFE Decoding Event Table), их можно использовать для обнаружения ошибок, отладки аппаратного обеспечения и ускорения разработки, что позволяет быстро и качественно выполнять инженерные проекты.